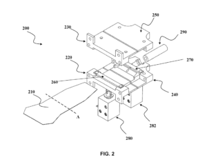
Analytical Detection is pleased to announce the granting of U.S. Patent no. 12,181,394:

“Method and System for Trace Detection of Low Volatile Substances”

This invention marks a significant breakthrough in the parallel detection of low volatile substances at explosive checkpoints. The technology it describes is fast, reliable, and cost-effective—leapfrogging existing desorption techniques for this class of explosives.

This is our second fully-granted patent. We anticipate it will be a game-changer for the field!

Download the patent here:
Patent-12181394